Описание станка
существующих решений Haitian Precision и с использованием новейших технологий и мирового
опыта в области механообработки. Станок может быть использован в сфере изготовления
автокомпонентов, производстве пресс-форм, станкостроении и т.д.

Основные узлы и техническое описание станка
Шпиндельный узелВ стандартной комплектации станок оснащен фрезерным шпинделем с ременным приводом.
Он не только отвечает требованиям высокого крутящего момента при низкой скорости, но также обеспечивает высокую скорость длительное время.
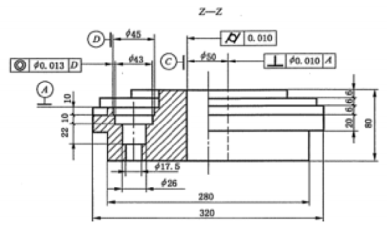
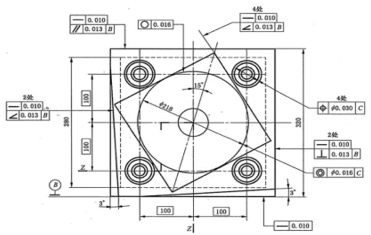
Конструкция станка - станина
Новое поколение Серии VMCII продолжает использовать чугун высокой жесткости, с прочной
станиной и колонной большого пролета, чтобы обеспечить прочную основу и стабильные
характеристики. VMC1000II/P имеет классическую конструкцию станка с крестовым столом.
Станок оснащен направляющими качения и шарико-винтовыми парами компании PMI. Большой
пролет между направляющими – стабильность процесса.





Стандартные технические характеристики
|
Обработка |
Перемещение X |
мм |
1000 |
|
Перемещение Y |
мм |
600 |
|
|
Перемещение Z |
мм |
600 |
|
|
Расстояние от центра шпинделя то поверхности стола |
мм |
150-750 |
|
|
Стол |
Размер стола |
мм |
1200×600 |
|
Максимальная нагрузка на стол |
кг |
800 |
|
|
Т-паз |
мм |
18×100x3 |
|
|
Шпиндель |
Тип привода |
- |
Ременной |
|
Скорость вращения |
об/мин |
8000 |
|
|
Мощность |
кВт |
11/15 |
|
|
Крутящий момент |
Нм |
143 |
|
|
Конус |
- |
BT40 |
|
|
Штревель |
|
P40T-I-MAS403 |
|
|
Перемещения |
X/Y/Z Холостая подача |
м/мин |
36/36/36 |
|
X/Y/Z Рабочая подача |
м/мин |
15/15/15 |
|
|
Диаметр ШВП |
мм |
40 |
|
|
Инструментальный магазин |
Количество инструмента |
шт. |
24 |
|
Тип сменщика |
- |
Рука |
|
|
Конус |
- |
BT40 |
|
|
Максимальный диаметр инструмента |
мм |
Φ78/Φ150 |
|
|
Максимальная длина инструмента |
мм |
300 |
|
|
Максимальный вес инструмента |
кг |
7 |
|
|
Смена инструмента |
с |
2.5 |
|
|
Позиционирование |
X/Y/Z |
мкм |
8/6/6 |
|
Повторяемость |
X/Y/Z |
мкм |
5/4/4 |
|
Прочее |
ЧПУ |
|
Fanuc 0i MF pack. 5 |
|
Давление воздуха |
МПа |
0.6 |
|
|
Потребляемая мощность |
кВА |
25 |
|
|
Вес станка |
Т |
6.5 |
|
|
Габаритные размеры |
см |
280х355х265 |
Комплектация
• Пневматическая и гидравлическая системы• 2 форсунки подачи СОЖ
• 1 форсунка охлаждения воздухом
• Подача СОЖ через шпиндель 2 МПа
• Удаление стружки потоком СОЖ
• Наружный стружечный конвейер с тележкой
• Полное ограждение с крышей
• Пневмопистолет
• Пистолет СОЖ
• Управление жизненным циклом инструмента
• Функция Ethernet
• Функция динамической симуляции 2D/3D
• Защита от внезапного отключения от эл. сети
• 3-х цветная лампа
• Лампа освещения рабочей зоны
• Стандартные принадлежности

Диаграмма крутящего момента

